
? FHA型鷹牌 EAGLE CLAMP水平鋼板吊鉗(也稱鋼板夾鉗)為日本進口產品,擁有5倍以上安全系數,使用壽命可長達7、8年,現由煙臺開發區龍海起重工具有限公司銷售。

FHA型鷹牌 EAGLE CLAMP水平鋼板吊鉗特點:
* FHA型水平鋼板吊鉗采用高強度焊接鋼制本體,堅韌耐久,安全性強。
* FHA型水平鋼板夾鉗需要以兩個的偶數為單位進行使用。
* FHA型水平鋼板吊鉗可用型鋼 100H × 5t
* FHA型水平鋼板吊鉗采用烤漆表面,環氧涂料,不掉漆

FHA型鷹牌 EAGLE CLAMP水平鋼板吊鉗應用:
該水平鋼板夾鉗主要用于H鋼水平移動、抬高移動、引起作業等。
我公司銷售該品牌產品為日本原廠產品,無假貨,可提供報關單據。我公司承諾如果客戶在購買我公司產品發現假貨、仿貨,我們以產品的貨值的百倍賠償??!

![]()
FHA型水平鋼板吊鉗為日本鷹牌eagle clamp原裝進口產品,保質1年,我公司承諾凡是客戶在我公司定購的進口類產品均為原裝正品,絕不存在拆件貨,換件貨,假冒品牌產品,凡客戶從我公司訂購日本鷹牌eagle clamp產品如收到貨物時發現有拆件貨,換件貨,假冒、假貨仿貨均以100倍金額賠償。
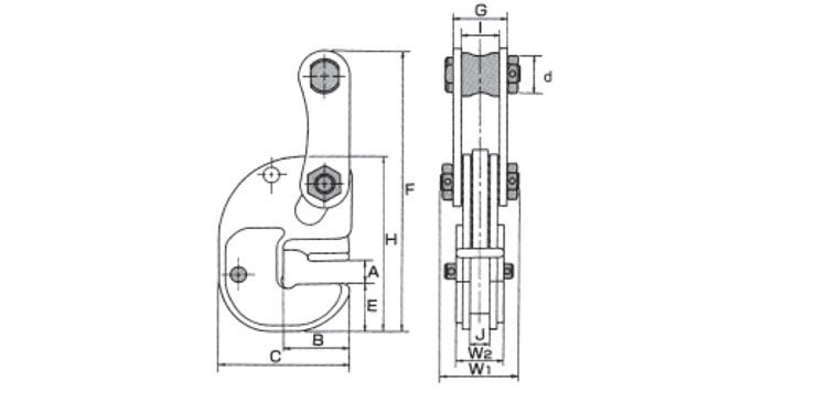
產品選型:水平吊鉗?